GM-Motoren-Patent
US-Autobauer General Motors hat in einer Patentschrift dargelegt, wie sich die Kolbenbewegung in einem Hubkolbenmotor zur Stromerzeugung nutzen lässt – quasi als Lichtmaschinenersatz.
In modernen Antriebssystemen geht nichts ohne Strom. Den erzeugt bei Verbrennungsmotoren in der Regel eine angeflanschte Lichtmaschine und puffert ihn in einer Batterie, bevor er an Verbrauch.r wie Zündung, Einspritzung oder auch Licht, Lüfter und Co abgegeben wird. Diese angeflanschte Lichtmaschine muss aber vom Motor angetrieben werden, was diesen eine gewisse Kraft kostet und damit auch den Verbrauch erhöht.
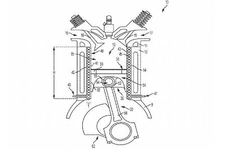
Wie Patentzeichnungen zeigen, hat sich General Motors ein Generatorsystem ausgedacht, das auf dem Prinzip des Lineargenerators basiert: Dabei wird ein starker Magnet linear durch eine Kupferspule bewegt und erzeugt so in der Spule eine Spannung. GM positioniert unter jedem Kolbenboden einen Permanentmagneten und um jede Zylinderlaufbuchse eine Spule. Wenn die Kolben in ihren Buchsen auf- und ablaufen erzeugen sie so in den Spulen Spannung – wie eine herkömmliche Lichtmaschine.
Viele Nachteile
Das System hat allerdings auch seine Schwächen. Der durch die Spule bewegte Magnet wird von dieser abgebremst – ergo muss der Verbrenner mehr Leistung aufbringen um diese Bremsneigung auszugleichen. Damit steigt auch wieder der Verbrauch. Zudem sind Permanentmagneten temperaturempfindlich. Bei steigenden Temperaturen wird das Magnetfeld schwächer – ungünstig, wenn man quasi in direkte Nachbarschaft zum Brennraum sitzt. Ach ja, auch Erschütterungen und Querkräfte mögen Magneten nicht besonders – beides Dinge, die im Verbrennungsmotor durchaus vorkommen. Auch erhöhen die Magneten unter dem Kolbenboden die bewegten Massen deutlich – etwas, was Motorenkonstrukteure gar nicht gerne sehen.
Unklar bleibt auch, wie GM den entstehenden Materialmix aus Kupfer und Laufbuchsenwerkstoff beherrschen will.
