Die Hyundai-Tochter Hyundai Mobis hatte bereits im November 2021 seine individuell lenkbaren Antriebsmodule in einem Demonstrationsfahrzeug vorgestellt.
Die Hyundai-Tochter Hyundai Mobis hatte bereits im November 2021 seine individuell lenkbaren Antriebsmodule in einem Demonstrationsfahrzeug vorgestellt.
Aktuell demonstriert der konzerneigene Entwicklungs-Think-Tank die Technik auf der CES 2024 an Bord eines modifizierten und in "Mobion" umbenannten Hyundai Ioniq 5.
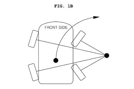
Bereits zuvor demonstrierte der Prototyp auf im Internet veröffentlichten Fotos und Videos, was die E-Corner-Technik kann.
Bitte nutze unser Angebot ab sofort über mail.freenet.de – speichere die Seite als Lesezeichen für einen schnellen Zugriff.
Damit Du uns schnell wiederfindest: Speichere unsere neue Adresse doch gleich als Favorit in Deinem Browser – für den schnellen Zugriff auf Postfach und News.
Drücke dazu auf das Stern- oder Teilen-Symbol in der Adressleiste oder öffne das Browser-Menü und wähle Lesezeichen oder Seite speichern.