Premiere beim Präsidenten-Besuch: Als Joe Biden das Werk besichtigte, enthüllte Ford vorzeitig den elektrischen F-150.
Premiere beim Präsidenten-Besuch: Als Joe Biden das Werk besichtigte, enthüllte Ford vorzeitig den elektrischen F-150.
Auf den Fotos zeigt sich der elektrische Pickup mit einer geschlossenen Front und einer anderen Leuchtengrafik als seine konventionell angetriebenen Geschwister.
Elektroauto-Fan Biden ließ sich zudem die Technik des Autos erklären.
Eigentlich war die offizielle Präsentation des Modells einen Tag später geplant. Im Frühjahr 2022 kommt es auf den Markt.
Inzwischen steht auch fest: Als Elektro-Pickup wird der F-150 den Beinamen "Lightning" tragen.
So hießen schon die besonders sportlichen V8-Modellversionen in den 1990er- und 2000er-Jahren.
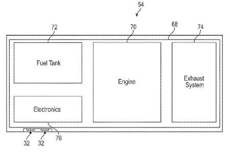
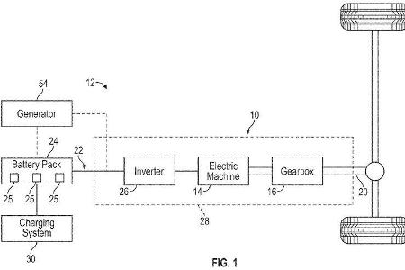
Ford hat sich bereits einige Patente in Bezug auf den elektrischen F-150 Schützen lassen. Zum Beispiel den Range-Extender in einer Kiste, ...
... die abnehmbar und unabhängig vom Fahrzeug transportabel zu sein scheint. Offenbar ist der Generator auch für den Einsatz an anderen elektrischen Modellen gedacht.
Die Kiste ließe sich auf der Ladefläche des F-150 direkt hinter der Fahrerkabine platzieren – dabei bliebe noch genug Platz für weiteres Transportgut.
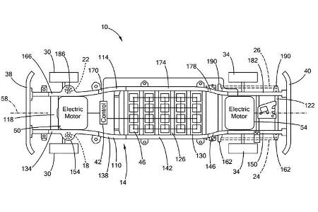
Den E-Antrieb an sich gestaltet Ford ganz klassisch mit je einem Motor pro Achse und dazwischen positioniertem Batterie-Paket.
Unter der stark konturierten Fronthaube befindet sich natürlich kein Antriebsstrang.
Stattdessen ist hier ein "Frunk"-Abteil (Frunk für Front-Trunk, also Frontkofferraum) für Habseligkeiten und Wertsachen untergebracht, ...
... dessen Klappe offensichtlich seitlich wegschwenkt.
Ein ungetarnter Prototyp des Ford F-150 EV hat bereits gezeigt, über welche Power sein Antriebsstrang verfügt.
Der rein elektrisch angetriebene F-150 musste zehn Eisenbahn-Waggons ziehen. Die waren mit 42 aktuellen F-150 beladen.
Der Elektro-F-150 hat die Waggons im Rücken, die 42 F-150 stehen daneben.
Der Zug war 305 Meter lang.
Geschafft: 454 Tonnen Anhängelast waren für den elektrsichen Ford F-150 kein Problem.
Die Doppelstock-Waggons im Schlepp des F-150 EV Prototyp.
Koordinierte den spektakulären Test: F-150-Chefingenieurin Linda Zhang.
Chefingenieurin Linda Zhang enthüllt vor dem Test, dass die Zugmaschine rein elektrisch fährt.
Die Ford-Test-Truppe bespricht den bevorstehenden Zugversuch.
Der elektrische Ford F-150 soll wohl mindestens 456 PS leisten, in unter 5,0 Sekunden von null auf 60 mph (96,6 km/h) sprinten und eine Reichweite von über 300 Meilen (482 Kilometer) bieten.
Bitte nutze unser Angebot ab sofort über mail.freenet.de – speichere die Seite als Lesezeichen für einen schnellen Zugriff.
Damit Du uns schnell wiederfindest: Speichere unsere neue Adresse doch gleich als Favorit in Deinem Browser – für den schnellen Zugriff auf Postfach und News.
Drücke dazu auf das Stern- oder Teilen-Symbol in der Adressleiste oder öffne das Browser-Menü und wähle Lesezeichen oder Seite speichern.