Langsamer, Officer! Ford hat sich einen Tempobegrenzer für Nachtfahrten patentieren lassen.
Langsamer, Officer! Ford hat sich einen Tempobegrenzer für Nachtfahrten patentieren lassen.
Ford könnte sich außerdem vorstellen, in den Frunk eines Elektro-Pick-up eine komplette Werkbank samt Werkzeugwand zu verbauen.
Auch der Einbau eines versenkbaren Bildschirms samt Soundsystem wurde von Ford bereits patentiert.
Schützen lassen hat sich Ford auch einen ausklappbaren Frunk-Tisch optional mit integrierter Kochstelle.
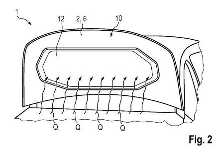
Toyota hat sich in den USA ein System patentieren lassen, bei dem ein Autolack unter dem Einfluss von Lichtwellen und Wärme die Farbe wechseln kann.
Gesteuert wird der Prozess per Sensoren im Auto und einem externen Controller. Die jeweilige Farbe ergibt sich aus dem richtigen Temperatur-Licht-Mix.
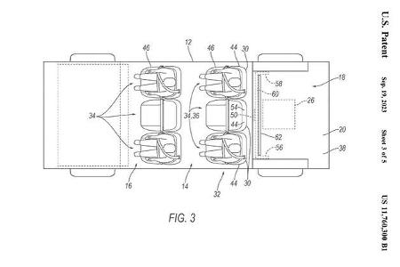
Ford hat ein Patent angemeldet, bei dem Airbags zur Ladungssicherung genutzt werden.
Der schützende Luftsack sitzt C-förmig im Fahrzeugboden zwischen Passagier- und Ladeabteil.
Bei einem Unfall löst der Airbag aus und wird zusätzlich von einer Art Gurtstraffer in die Höhe gerissen.
So soll sich in Sekundenbruchteilen eine schützende Barriere zwischen Ladung und Passagieren aufbauen.&b;
Möglich sind Einsätze in einem Pkw oder Nutzfahrzeug.
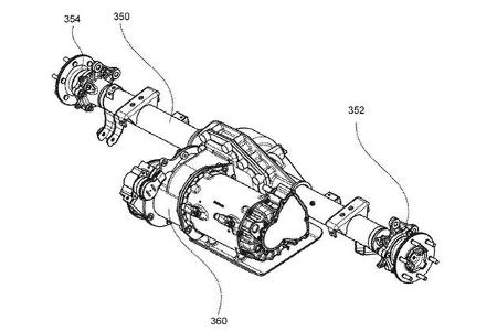
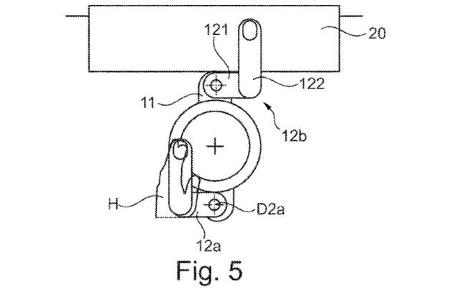
Ein weiteres Ford-Patent beschreibt ein Nachrüstkit für eine dritte Achse an F-150-Pick-ups.
Ein anschraubbares Zusatzmodul zum Leiterrahmen adaptiert die dritte Achse.
Die wird über ein eigenes Blattfederpaket gefedert und bietet so Potenzial für eine erweiterte Zuladung.
Die dritte Achse kann offensichtlich als reine Schleppachse oder als Achse mit eigenem Elektroantrieb ausgelegt werden.
Ford zielt damit auf Kunden, die ihren Pick-up tatsächlich zum Arbeiten nutzen und auf hohe Nutzlasten angewiesen sind.
Für die hat Ford zwar die Heavy Duty-Modelle der F-Series im Angebot, aber nicht jeder Käufer möchte gleich zum nächstgrößeren Modell greifen.&b;
Bitte nutze unser Angebot ab sofort über mail.freenet.de – speichere die Seite als Lesezeichen für einen schnellen Zugriff.
Damit Du uns schnell wiederfindest: Speichere unsere neue Adresse doch gleich als Favorit in Deinem Browser – für den schnellen Zugriff auf Postfach und News.
Drücke dazu auf das Stern- oder Teilen-Symbol in der Adressleiste oder öffne das Browser-Menü und wähle Lesezeichen oder Seite speichern.