Nissan forscht bereits seit langen Jahren an der VC-T-Technik.
Eines der Probleme bestand darin, den Verstellmechanismus
platzsparend ins Motorgehäuse zu integrieren.
Die Technik im Detail.
Hier Patentzeichnungen der Verstelltechnik. Patent US 6505582
B2
Hier Patentzeichnungen der Verstelltechnik. Patent US 6505582
B2
Hier Patentzeichnungen der Verstelltechnik. Patent US 6505582
B2
Hier Patentzeichnungen der Verstelltechnik. Patent US 6505582
B2
Hier Patentzeichnungen der Verstelltechnik. Patent US 6505582
B2
Hier Patentzeichnungen der Verstelltechnik. Patent US 6505582
B2
Hier Patentzeichnungen der Verstelltechnik. Patent US 6505582
B2
Hier Patentzeichnungen der Verstelltechnik. Patent US 6505582
B2
Hier Patentzeichnungen der Verstelltechnik. Patent US 6505582
B2
Hier Patentzeichnungen der Verstelltechnik. Patent US 6505582
B2
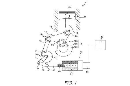
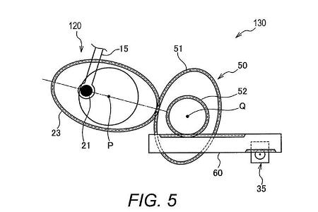
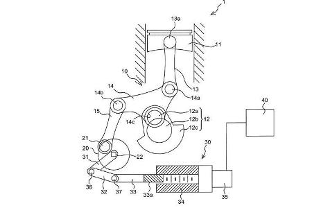
Hier Patentzeichnungen der Verstelltechnik. Patent US8087390
B2
Hier Patentzeichnungen der Verstelltechnik. Patent US8087390
B2
Hier Patentzeichnungen der Verstelltechnik. Patent US8087390
B2
Hier Patentzeichnungen der Verstelltechnik. Patent US8087390
B2
Hier Patentzeichnungen der Verstelltechnik. Patent US8087390
B2
Hier Patentzeichnungen der Verstelltechnik. Patent US8087390
B2
Hier Patentzeichnungen der Verstelltechnik. Patent US8087390
B2