Mazda zeigte die RX-Vision Concept auf der Tokio Motor Show.
Mazda zeigte die RX-Vision Concept auf der Tokio Motor Show.
Der Sportwagen trägt einen Wankelmotor.
Dessen besonders kompakte Bauweise trägt zu der flachen Silhouette des Sportwagens bei.
Nähere Angaben zum Skyactice R-Motor gibt es nicht. Lediglich Gerüchte, es sei ein 1,6-Liter-Turbo mit 450 PS.
Der Motor soll jedoch in einem neuen Sportwagen der Marke verbaut werden.
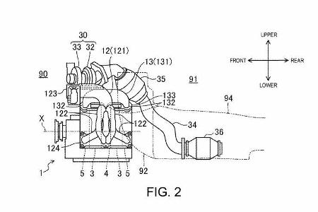
Bilder zur Patentanmeldung zeigen den Aufbau mit Turbolader.
Um den Lader on Top unterzubringen wird der Motor in Längsrichtung um 180 Grad gedreht.
Zu einem möglichen Namen des Sportwagens mit Frontmotor und Heckantrieb gibt es bislang nur Spekulationen. Dieser könnte Mazda RX9 sein - schließlich hat sich Mazda den Namen schützen lassen.
Cosmo mit einem Zusatz wäre möglich - auch hier würde die Sportwagen-Vergangenheit dann wieder aufscheinen.
Die Studie misst in der Länge 4,389 Meter, ist 1,925 Meter breit und lediglich 1,16 Meter hoch.
Der Radstand beträgt 2,7 Meter.
Die Sportwagen-Studie steht auf 245/40 R20 vorne und 285/35 R20 an der Hinterachse
Zwei Türen und zwei Sitze, so kommt die Studie daher.
Mazda RX-Vision Concept zeigt sich mit einem knackigen Heck.
Die Fahrgastzelle ist weit nach hinten gerückt.
Mazda RX-Vision Concept auf der Tokio Motor Show.
Der Innenraum: Klassisch und einfach gehalten.
Bitte nutze unser Angebot ab sofort über mail.freenet.de – speichere die Seite als Lesezeichen für einen schnellen Zugriff.
Damit Du uns schnell wiederfindest: Speichere unsere neue Adresse doch gleich als Favorit in Deinem Browser – für den schnellen Zugriff auf Postfach und News.
Drücke dazu auf das Stern- oder Teilen-Symbol in der Adressleiste oder öffne das Browser-Menü und wähle Lesezeichen oder Seite speichern.