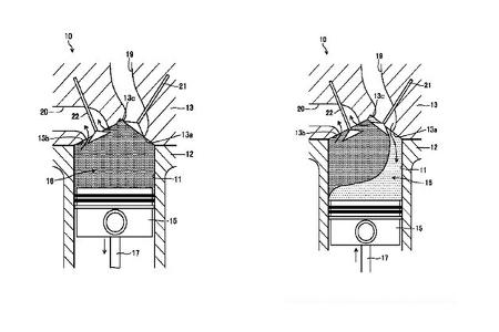
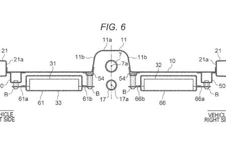
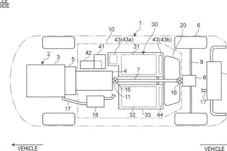
Patentzeichnungen aus den USA zeigen einen Mazda-Zweitakter mit Aufladung, Ventilen und Direkteinspritzung.
Patentzeichnungen aus den USA zeigen einen Mazda-Zweitakter mit Aufladung, Ventilen und Direkteinspritzung.
Immer wieder macht Mazda mit neuen Patenten zu Verbrennungsmotoren auf sich aufmerksam. Zuletzt drehten sich viele Patente um Wankelmotoren, wie auf den folgenden Bildern zu sehen ist.
Immer wieder macht Mazda mit neuen Patenten zu Verbrennungsmotoren auf sich aufmerksam. Zuletzt drehten sich viele Patente um Wankelmotoren, wie auf den folgenden Bildern zu sehen ist.
Patentzeichnungen aus den USA zeigen einen Mazda-Zweitakter mit Aufladung, Ventilen und Direkteinspritzung.
Bitte nutze unser Angebot ab sofort über mail.freenet.de – speichere die Seite als Lesezeichen für einen schnellen Zugriff.
Damit Du uns schnell wiederfindest: Speichere unsere neue Adresse doch gleich als Favorit in Deinem Browser – für den schnellen Zugriff auf Postfach und News.
Drücke dazu auf das Stern- oder Teilen-Symbol in der Adressleiste oder öffne das Browser-Menü und wähle Lesezeichen oder Seite speichern.