Mobilfunk
Zum Seiteninhalt
Mobilfunk
Unabhängiger Mobilfunk in allen Netzen
Internet
Internet für zu Hause und unterwegs
TV-Entertainment
Fernsehen wann und
wo du willst
Mail & Cloud
Gratis E-Mail, Webseiten und Cloudspeicher
Alle Angebote
Mobilfunk
Internet
TV-Entertainment
Mail & Cloud
News
Politik
Vermischtes
Wirtschaft
Gute Nachrichten
Polizeimeldungen
Wetter
Einbürgerungstest
IQ-Test
Sport
Liveticker & Datencenter
Bundesliga
2. Bundesliga
Champions League
DFB-Pokal
Frauenfußball
Formel 1
Mehr Sport
Finanzen
Finanznachrichten
Börse
Jobs & Karriere
Kredit & Banking
Recht & Steuern
Spartipps
Strom- und Gaspreisvergleich
Brutto-Netto-Rechner
Finanzrechner
Tipptrainer
Auto
Neuheiten
Tests
Magazin
Youngtimer & Oldtimer
Wohnmobile
Elektroautos
Fuhrparkmanagement
Promille-Rechner
Führerscheintest
Unterhaltung
TV
Promis
Royals
Kino
Video
Witze
Quiz & Tests
Puzzles
Memo-Spiele
Cartoons
Lifestyle
Ratgeber
Reisen
Gesundheit
Ferientermine
Partnersuche
Digital
Digital News
Computer & Mobile
Online & Sicherheit
Mail & Cloud Blog
Windows & Software
Smarthome
Download-Center
Spielen
Wortel und Varianten
Mahjong Classic und Varianten
Solitär Klondike und Varianten
Fantasy
Zoo und Park
Militär
Lustig und spannend
Piraten und Soldaten
Bauernhof
Magie
Online-Spiele
Gemstones Classic
Neon Snake
Same Game
Solitär Klondike
Solitär Spider
Solitär Spiderrette
Solitär Alaska
Solitär Asse hoch
Solitär Canfield
Solitär FreeCell
Solitär Golf
Solitär Klondike Joker
Solitär Pyramide
Russisches Solitär
Solitär Tri Peaks
Solitär Yukon
Wortel
Wortel 2x
Wortel 4x
Wortel Swap
Mail
Domain
♥
Kundenservice
Zurück
©
Tesla
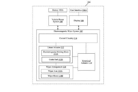
Tesla hat sich ein neuartiges Scheibenwischsystem patentieren lassen.
©
Tesla
Ein Einzelwischerblatt wird elektromagnetisch linear über die Scheibe bewegt.
©
Tesla
Bei Nichtgebrauch verschwindet das System unsichtbar unter der Motorhaube.
©
Tesla
Das System ist komplett modular aufgebaut und könnte so bald in Serie gehen.
Wie man Autositze wieder richtig sauber bekommt
Diese Gebrauchten halten ewig
Die originellsten Ausreden beim TÜV
Hier wird's richtig teuer: Europas härteste Bußgelder für Autofahrer
TÜV-Report: Die besten und schlechtesten Autos
gekennzeichnet mit
freenet ist Mitglied im JUSPROG e.V.