Stellantis hat ein E-Auto-Getriebe patentieren lassen, das mehr Gänge aufweist als üblich.
Stellantis hat ein E-Auto-Getriebe patentieren lassen, das mehr Gänge aufweist als üblich.
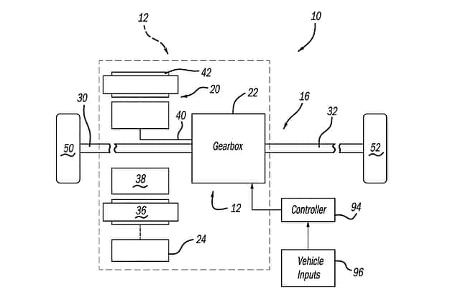
Es umfasst drei Fahrstufen, weshalb es vor allem für E-Autos mit Offroad-Anspruch infrage kommen könnte.
Das ergibt Sinn, denn zum Stellantis-Konzern gehört die Geländewagenmarke Jeep.
Die hatte bereits 2022 mit dem Recon ein elektrisches Wrangler-Pendant vorgestellt, das bald auf den Markt kommen soll.
Mit dem neuen Jeep Recon hat die Marke ein komplett neues Modell auf die Räder gestellt, ...
... mit dem einerseits die Jeep-DNA des kernigen Wrangler auf aktuelle Weise interpretiert wird, ...
... aber ebenso modernes und effizientes Design möglich ist.
Eine Spezialität, die vor allem in den USA den Wrangler-Fans enorm wichtig ist, trägt auch der neue Jeep Recon fort.
Türen und Dach lassen sich entfernen, was speziell abseits der Straße ein ganz besonderes Open-Air-Vergnügen ermöglicht.
Eigentlich sollte der Jeep Recon in den USA bereits 2024 auf den Markt kommen.
Doch das Modell lässt noch immer auf sich warten. Aktuell ist unklar, wann ein elektrischer Wrangler-Ableger kommt.
Bitte nutze unser Angebot ab sofort über mail.freenet.de – speichere die Seite als Lesezeichen für einen schnellen Zugriff.
Damit Du uns schnell wiederfindest: Speichere unsere neue Adresse doch gleich als Favorit in Deinem Browser – für den schnellen Zugriff auf Postfach und News.
Drücke dazu auf das Stern- oder Teilen-Symbol in der Adressleiste oder öffne das Browser-Menü und wähle Lesezeichen oder Seite speichern.