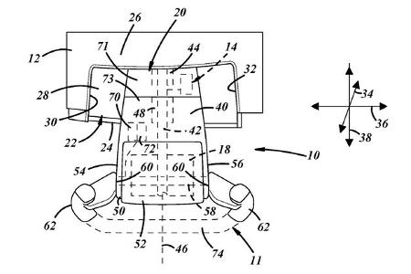
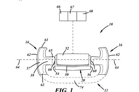
Lenkhorn mit zwei beweglichen Handgriffen – so stellt sich Stellantis die Lenkung der Zukunft im Patentantrag vor.
Lenkhorn mit zwei beweglichen Handgriffen – so stellt sich Stellantis die Lenkung der Zukunft im Patentantrag vor.
Die beiden T-förmigen Griffe werden zum Beschleunigen nach vorn gedrückt und zum Bremsen nach hinten gezogen.
Den modernen Hype um die Abkehr vom klassischen Lenkrad hat Tesla mit dem Yoke-Lenkrad gegründet. Richtig durchgesetzt hat es sich aber nicht.
Toyota hat auf der Tokyo Motor Show 2023 das NEO Steer Concept vorgestellt.
Gebremst wird wie beim Motorrad über Handhebel, beschleunigt mit einem Daumengashebel.
Polestar hat beim Synergy Concept ein Yoke-Lenkrad mit integriertem Display gezeigt.
Toyota bietet ein halbiertes Lenkrad beim BZ4X in Serie an.
Diesem Beispiel folgte der Lexus RZ.
Und auch hier ist die Lenkarbeit recht gewöhnungsbedürftig.
Der Porsche Mission R ist ein Konzeptfahrzeug für einen vollelektrischen Rennwagen – samt Lenkhorn.
In der Studie Urbanaut verbaute Mini einen ovalen Lenkkranz.
Noch ein Konzept: der Buick Electra.
Auch hier soll die Lenkerform dazu beitragen, dass sich die ganze Lenkeinheit im Armaturenträger versenken lässt.
Beim Mercedes Mission One Concept gab es einen ersten Ausblick auf das Lenkrad des künftigen Hypercars.
Und so ging es im Mercedes AMG One in Serie.
Nochmal Mercedes: Lenkung im Experimentalfahrzeug ESF 2019.
BMW hat sich ebenfalls ein Yoke-Lenkrad patentieren lassen. Dessen Besonderheit: Die Lenkörner sind drehbar.
Bitte nutze unser Angebot ab sofort über mail.freenet.de – speichere die Seite als Lesezeichen für einen schnellen Zugriff.
Damit Du uns schnell wiederfindest: Speichere unsere neue Adresse doch gleich als Favorit in Deinem Browser – für den schnellen Zugriff auf Postfach und News.
Drücke dazu auf das Stern- oder Teilen-Symbol in der Adressleiste oder öffne das Browser-Menü und wähle Lesezeichen oder Seite speichern.