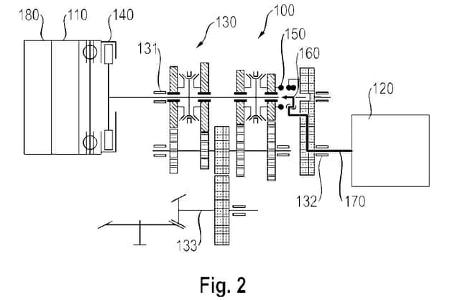
Porsche entwickelt Schaltgetriebe mit Automatik-Modus
Manuelle Getriebe mit H-Schaltung sind nahezu ausgestorben. In den meisten Neuwagen sitzen Automatikhebel zur Steuerung der Elektronik. Das ist effizienter und komfortabler, verzichtet aber auf jedes haptische Feedback. Mit einem neuen Patent möchte Porsche nun offenbar beide Welten zusammenbringen. Ein komplett neuer Wählhebel könnte bald klassisch manuell als auch vollautomatisch funktionieren. Wie geht das?