Ford entwirft eine neue modulare Einheits-Plattform und reicht das Patent beim US-amerikanischen Patent- und Markenamt ein.
Ford entwirft eine neue modulare Einheits-Plattform und reicht das Patent beim US-amerikanischen Patent- und Markenamt ein.
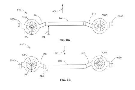
Die Grundplattform bleibt derselbe, während die Elemente vorn und hinten Aufhängungs- und Antriebsstrangkomponenten aufnehmen.
Die Plattform lässt sich um 180 Grad drehen. Je nachdem, ob er Basis für ein Fahrzeug mit viel oder wenig Bodenfreiheit sein soll.
In der einen Konfiguration sind die Bereiche der Grundbasis mit den Radbaugruppen verbunden und nach unten geneigt. In der zweiten Konfiguration neigen sich die Verbindungsarme der Radgruppen nach oben.
Als Alternative könnte auch die Hauptgruppe einheitlich sein und die Bereiche, die mit den Radbaugruppen verbunden sind, austauschbar.
Auf diese Weise ließe sich ebenfalls die Fahrhöhe je nach Fahrzeug verstellen.
In beiden Fällen käme eine einzige technische Basis zum Einsatz. Vorteil dieser Plattform wäre eine Kostenersparnis in der Herstellung.
Bitte nutze unser Angebot ab sofort über mail.freenet.de – speichere die Seite als Lesezeichen für einen schnellen Zugriff.
Damit Du uns schnell wiederfindest: Speichere unsere neue Adresse doch gleich als Favorit in Deinem Browser – für den schnellen Zugriff auf Postfach und News.
Drücke dazu auf das Stern- oder Teilen-Symbol in der Adressleiste oder öffne das Browser-Menü und wähle Lesezeichen oder Seite speichern.