BMW hat sich für Elektroautos neue Tür-Systeme patentieren lassen. Die sollen besonders den Zustieg in Sitzreihen ohne eigene Türen erleichtern.
BMW hat sich für Elektroautos neue Tür-Systeme patentieren lassen. Die sollen besonders den Zustieg in Sitzreihen ohne eigene Türen erleichtern.
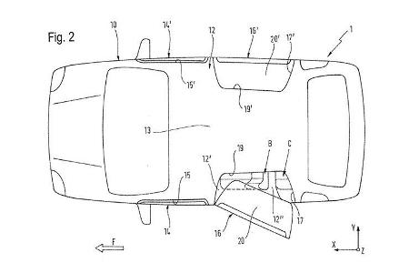
Denkbar sind Systeme mit L-förmigen Türen, die sich bis in den Dachbereich hinein erstrecken.
Alternativ sind zweigeteilte Türen mit einem zu öffnenden Dachteil angedacht.
In welchen künftigen BMW-Modellen eines dieser Tür-Konzepte zu erwarten ist, verrät die Patentschrift allerdings nicht.
Dem elektrisch angetriebenen Viertürer-Coupé i4 würde eine größere Öffnung an der Fondtür jedenfalls gut tun.
Beim Taycan hat Porsche Platz für den Fußraum aus der Batterie im Fahrzeugboden "herausgeschnitten". Das lässt eine tiefere Position der Sitzbank zu, hilft aber beim Einstieg nur bedingt.
Bitte nutze unser Angebot ab sofort über mail.freenet.de – speichere die Seite als Lesezeichen für einen schnellen Zugriff.
Damit Du uns schnell wiederfindest: Speichere unsere neue Adresse doch gleich als Favorit in Deinem Browser – für den schnellen Zugriff auf Postfach und News.
Drücke dazu auf das Stern- oder Teilen-Symbol in der Adressleiste oder öffne das Browser-Menü und wähle Lesezeichen oder Seite speichern.