BMW hat sich eine neue Technik patentieren lassen, um Benzinmotoren mit einer Vorkammerzündung zu betreiben. Der abgebildete BMW-TwinPower-Turbo-Reihensechszylinder-Benzinmotor (B58) verfügt noch nicht über diese Technik.
BMW hat sich eine neue Technik patentieren lassen, um Benzinmotoren mit einer Vorkammerzündung zu betreiben. Der abgebildete BMW-TwinPower-Turbo-Reihensechszylinder-Benzinmotor (B58) verfügt noch nicht über diese Technik.
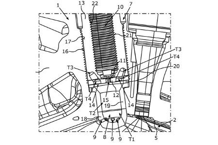
In der Gesamtansicht wird die Konstruktionsweise dargestellt. Die Zündkerze (10) verfügt nur noch über eine Zündelektrode, die Masseelektrode (13) ist fest mit dem Zylinderkopf verbunden.
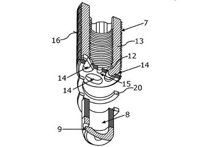
Hier ist die Masseelektrode (13) im Detail zu sehen. Unterhalb befindet sich die Vorkammer (8).
Die Vorkammer (8) ist mit Überströmkanälen (9) mit dem eigentlichen Brennraum verbunden.
BMW ist natürlich auch bei der elektrischen Zukunft unterwegs, zum Beispiel mit dem DeepDrive-Radnabenantrieb, den wir in den folgenden Bildern vorstellen.
Die neue Drive-Brake-Unit von Continental und DeepDrive ist eine Kombination aus Elektroantrieb und hydraulischer Bremse in einem geschlossenen Gehäuse, das in eine 19-Zoll-Felge passt.
Mit dem von DeepDrive entwickelten Radnabenmotor sind verschiedene Leistungsklassen möglich. Die mittlere erzeugt 1.500 Newtonmeter Anfahrmoment am Rad.
Die Spitzenleistung liegt bei 150 kW (204 PS).
Auf der IAA 2023 in München stellte das Unternehmen DeepDrive zwei neue Elektroantriebe vor, CSD 450 und CSD 700.
Die Doppelrotor-Technologie von DeepDrive bringt mehr Effizienz, weniger Gewicht und geringeren Einsatz seltener Erden.
Bitte nutze unser Angebot ab sofort über mail.freenet.de – speichere die Seite als Lesezeichen für einen schnellen Zugriff.
Damit Du uns schnell wiederfindest: Speichere unsere neue Adresse doch gleich als Favorit in Deinem Browser – für den schnellen Zugriff auf Postfach und News.
Drücke dazu auf das Stern- oder Teilen-Symbol in der Adressleiste oder öffne das Browser-Menü und wähle Lesezeichen oder Seite speichern.