Ford entwickelt seine Verbrennungsmotoren weiter. Jetzt hat sich der Hersteller eine neue Vorkammer-Verbrennung für verdampften Kraftstoff patentieren lassen (im Bild ein Shelby-GT500-Motor von 2019 - also noch ohne die neue Vorkammer-Technologie).
Ford entwickelt seine Verbrennungsmotoren weiter. Jetzt hat sich der Hersteller eine neue Vorkammer-Verbrennung für verdampften Kraftstoff patentieren lassen (im Bild ein Shelby-GT500-Motor von 2019 - also noch ohne die neue Vorkammer-Technologie).
Schritt-für-Schritt-Beschreibung der Zuführung der aufgefangenen Kraftstoffdämpfe in das Vorkammer-Verbrennungssystem.
Schematische Darstellung eines Teils der Hauptbrennkammer inklusive Kolben und Ventilen. Unten rechts sind der Gasfuß des Fahrers und das Gaspedal dargestellt.
Die Nummer 310 verweist auf die Vorkammer, in der die Ford-Ingenieure die Kraftstoffdämpfe verbrennen wollen.
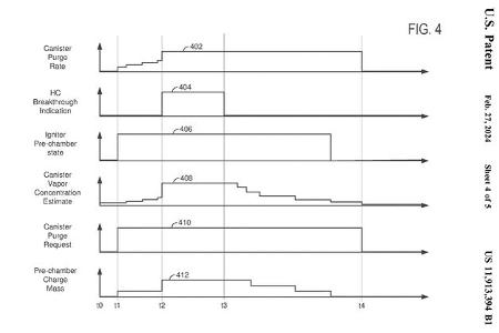
Hier stellen die Ingenieure die Verläufe folgender Prozesse dar (von oben): Auffangtank--Entleerungs-Rate, Anzeige zum Überschreiten der höchstmöglichen Kohlenwasserstoffkonzentration, Zünder-Vorkammerzustand, Schätzung der Dampfkonzentration im Auffangtank, Anfrage zur Leerung des Auffangtanks und Masse der Vorkammerladung.
Bitte nutze unser Angebot ab sofort über mail.freenet.de – speichere die Seite als Lesezeichen für einen schnellen Zugriff.
Damit Du uns schnell wiederfindest: Speichere unsere neue Adresse doch gleich als Favorit in Deinem Browser – für den schnellen Zugriff auf Postfach und News.
Drücke dazu auf das Stern- oder Teilen-Symbol in der Adressleiste oder öffne das Browser-Menü und wähle Lesezeichen oder Seite speichern.