Sportwagenbauer Ferrari hat sich einen Zwölfzylindermotor patentieren lassen, der die V-Anordnung der zwölf Zylinder völlig neu interpretiert.
Sportwagenbauer Ferrari hat sich einen Zwölfzylindermotor patentieren lassen, der die V-Anordnung der zwölf Zylinder völlig neu interpretiert.
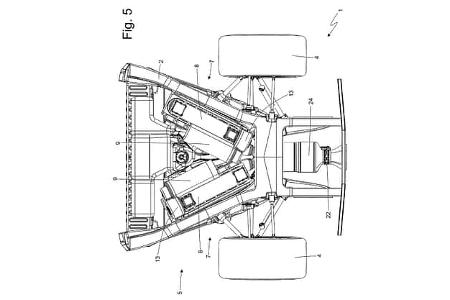
Anders als konventionelle V12-Motoren, bei denen sich die Zylinderbänke eine gemeinsame Kurbelwelle teilen, arbeitet hier jede Zylinderbank mit einer eigenen Kurbelwelle.
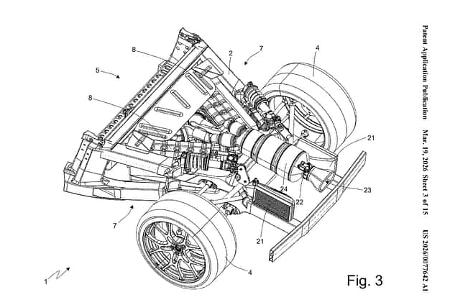
Die Motorblöcke stehen dabei in einem Winkel von etwa 45 Grad zueinander, wobei sich das entstehende V nach vorne hin öffnet und die Schenkel sich zum Heck hin treffen. Von oben betrachtet ergibt sich so eine Y-Form.
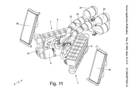
Ein verbindendes Element ist die oben über die Verbrenner geführte Auspuffanlage, deren beide Abgasstränge über eine Klappensteuerung final zu einem Endrohr zusammengeführt werden. Die Klappensteuerung erlaubt es die Abgasnachbehandlung optimal zu managen.
Gekoppelt sind auch die Kühl- und Schmierkreisläufe beider Motoren, um auch einen je nach Betriebszustand abgeschalteten Verbrenner warmzuhalten und Emissionen beim Wiederstart zu reduzieren.
Wer sich nun fragt, wie die beiden Sechszylinder aus dieser Konfiguration heraus die Räder antreiben können – tun sie gar nicht. Die Patentanmeldung beschreibt den neuen Motor als seriellen Hybrid. Das bedeutet, dass keiner der Motoren eine direkte Verbindung zu den angetriebenen Rädern hat. Vielmehr ist an jedem Motor eine Generatoreinheit angeflanscht.
Separate Elektromotoren treiben dann schließlich über ein Getriebe mit festem Übersetzungsverhältnis die Antriebswelle und damit das Rad an. Ein Mehrganggetriebe oder eine Kupplung sind nicht auszumachen.
Und warum diese ungewöhnliche Anordnung? Der vorne breit und hinten schmal bauende Motor passt sich so dem typischen Aerodynamikkonzept von Sportwagen an, das mittig eher bauchig und am Heck schlank ausgelegt ist. Das erlaubt den Designern größere Freiheiten.
Zudem kann der Motor so weiter nach vorne rücken, was gut für den Schwerpunkt ist und zudem Platz für die Radaufhängungen – in diesem Fall mit liegend angeordneten Stoßdämpfern – schafft.
Mit an Bord ist auch eine nicht näher beschriebene Batterie, die als Pufferspeicher für die Überschussleistung der Generatoren und als Speicher für die Rekuperationsenergie dient.
Zudem kann sie Lastspitzen beim Beschleunigen abdecken, wenn die Generatorleistung nicht reicht.
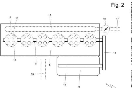
Um Platz zu sparen und den Schwerpunkt weiter abzusenken, liegen sich die Generatoreinheiten unterhalb der Verbrenner jeweils gegenüber.
Die Verbrenner selbst dürften in Sachen Hubraum eher bescheiden ausgelegt sein, treiben sie doch nur die Generatoren an. Andere Hybridkonzepte zeigen hier bereits, wie leistungsfähig schon Turbo-Motoren mit nur 1,5 Liter Hubraum sein können. Zudem sparen kleine Verbrenner Bauraum und Gewicht.
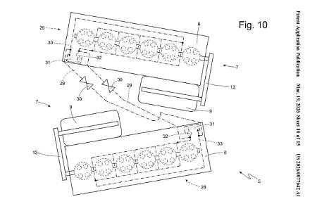
Die Antriebssteuerung erlaubt laut Patent beide Motorenblöcke unterschiedlich – also mit verschiedenen Drehzahlen – zu betreiben, so dass hierüber der Motorklang und die Leistungsabgabe beeinflusst werden kann. Ferrari nennt explizit eine hohe Spitzenleistung, wenn beide Aggregate auf Volllast laufen und einen effizienten Betrieb, wenn nur eine Maschine läuft. Abweichende Drehzahlen erlauben ein breites Klangspektrum.
Zusätzlich erwähnt das Patent die Möglichkeit, den Antrieb mit einem virtuellen Getriebe zu kombinieren. Hierbei simuliert die Steuerung Schaltvorgänge, die technisch gar nicht notwendig wären, dem Antrieb aber einen sportlicheren Touch verleiht.