Einen ersten Ausblick auf den kommenden Elektro-Ferrari gibt ein jetzt erwischter Erlkönig.
Einen ersten Ausblick auf den kommenden Elektro-Ferrari gibt ein jetzt erwischter Erlkönig.
Die Karosserie des Versuchsträgers mischt den Grundkörper eines Purosangue mit Anbauteilen von Maserati.
Klare Hinweise auf den E-Antrieb liefern die über die Karosserie verteilten Elektro-Warnaufkleber.
Die am Heck angebrachten Auspuffendrohre sind nur Attrappen.
Details zum kommenden Elektro-Ferrari lassen sich vom Muletto-Auftritt noch nicht ableiten.
Die verwendete Karosseriegröße deutet allerdings schon die Klasse an,...
Die verwendete Karosseriegröße deutet allerdings schon die Klasse an,...
Die Frontschürze im Detail.
Die Dachantenne blinkt in grün oder ...
... rot. Sie könnte den Ladezustand des Akkus anzeigen.
Aerodynamische Felgen im 23 Zoll Format mit Reifen der Größe 265/35 sind standesgemäß.
Ein Sportwagen scheint nahezu ausgeschlossen, ein Crossover- oder ein SUV wahrscheinlich.
Laut Ferrari-CEO Vigna wird das komplette Auto im Frühjahr 2026 enthüllt. Im Januar 2020 gab es schon ein erstes Patent zu einem möglichen Elektro-Ferrari.
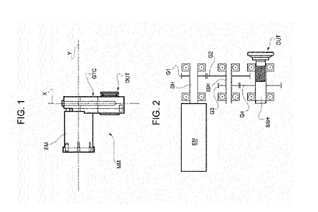
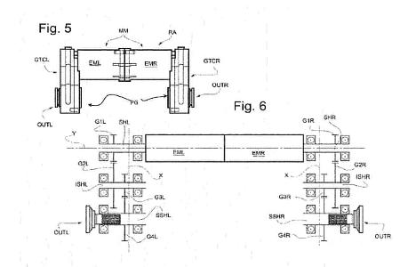
Die Hauptbatterie sitzt in Sandwich-Bauweise im Heck auf einem Hilfsrahmen. Das ganze Paket erfüllt strukturelle Aufgaben.
Das schlicht mit "Electric or hybrid sport car" betitelte Patent zeigt ein Sportwagen-Chassis im typischen Zweisitzer-Mittelmotor-Design und beschäftigt sich mit der Unterbringung der Batterie.
Bitte nutze unser Angebot ab sofort über mail.freenet.de – speichere die Seite als Lesezeichen für einen schnellen Zugriff.
Damit Du uns schnell wiederfindest: Speichere unsere neue Adresse doch gleich als Favorit in Deinem Browser – für den schnellen Zugriff auf Postfach und News.
Drücke dazu auf das Stern- oder Teilen-Symbol in der Adressleiste oder öffne das Browser-Menü und wähle Lesezeichen oder Seite speichern.